ZHE JIANG BOGUANG ELECTRICAL TECHNOLOGY CO.,LTD. has been committed to product quality control and enterprise management "manufacturing high-quality goods, integrity service" is always our commitment to the customer. The company produces crystal sales of customers is the main power supply bureau, the company (hereafter called sacsc), mechanical and electrical equipment company, best-selling domestic provinces and cities autonomous regions, many times by the national key factory, export Europe and Africa southeast Asia etc, in use process to get the user high praise!
Outline
FZN21-12D / T630-20, FZN21-12DR / T125-31.5 high-voltage vacuum load switch and combination for three-phase AC electrical 12KV, 50Hz power distribution system, with a compact, small size, light weight, long life, closing breaking ability, safe and reliable, and fuse with the use of (the combination of electrical appliances) can replace higher cost of circuit breaker operation and maintenance easy.
Type Meaning

Environmental conditions
· Elevations ≤1000m;
· Ambient temperature -25 ℃ ~ + 40 ℃;
Relative humidity: daily average of not more than 95%, on average less than 90%;
· Non-conductive dust, corrosive gases and water vapor spaces;
· No fire and explosion hazard;
· No severe vibration, inclination of less than 3 ° place.
Technical parameters load switch

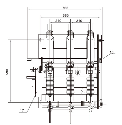
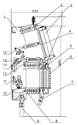
Mounting dimensions


Dimensions

Copyright 2015 http://m.elecray.com.cn All Rights Reserved Technical support:Midian